Чертежи печи для бани из металла
Чертежи печи для бани из металла
Что самое главное в бане — конечно же печь. Существует множество готовых решений печей, которые можно купить в магазине, но в этой статье мы рассмотрим чертежи для самостоятельного изготовления печей из металла.

Печь для бани из металла своими руками
Этапы изготовления
Чертежей печи для бани достаточно много и каждый из них имеет свою функциональность. Начнем с топки для печи.
- Топка — первое что нужно сделать. Размеры топки вы определяете самостоятельно, исходя из размеров вашей парной.
Главное помнить, что ширина и высота топки должны быть одинаковы. - На некоторых чертежах печей из металла вы можете увидеть готовые решения, которые можно купить в магазине ,а не вырезать и варить самостоятельно. Например, дверцы, решетки, ручки и так далее. Вы сэкономите массу времени, если приобретете их в магазине.
- Почти на всех чертежах топка состоит из 2 частей. В одной части горят дрова, а другая предназначена для сбора золы и также выполняет функцию поддувала.
- Если на верхнюю часть топки будут ложиться камни, то ее следует сделать из решетки. Можно сделать декоративную решетку для красоты.

Важно! Если Вы решили сварить печь для бани самостоятельно — отнеситесь с особым вниманием к толщине металла. Металл должен быть не менее 5 мм, чтобы при нагревании его не повело.

Подробный чертеж печи для бани из металла
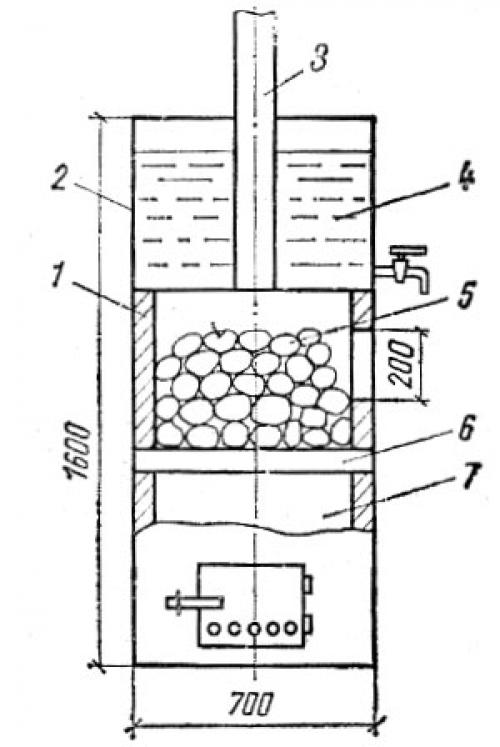
Бак для воды и место для камней
- Сразу над топкой делается емкость для засыпки камней.
- На некоторых чертежах емкость является открытой и вода поливается на камни сверху.
- На других чертежах печей можно встретить емкость для камней с дверцей, которую необходимо открывать для полива воды на камни. Так камни быстрее прогреваются в закрытой емкости и дольше сохраняют тепло.
- В каменке используются специальные камни для бани. Можно конечно использовать обычные речные, но эффект будет не тот.
- Над каменкой устанавливается бак с водой. Через него также должна проходить труба, которая будет подогревать воду.
- В бак с водой можно вмонтировать кран для набора горячей воды.
Также не забудьте про то, что через каменку должен проходить дымоход.

Печь с открытой каменкой

Чертеж печи из металла с каменкой и баком для воды
Трубу также необходимо изготавливать из трубы с большой толщиной металла. Так она не сразу прогорит и будет служить вам долго.

Печь для бани с трубой, проходящей через каменку и водяной бак
Дымоход
Также на чертеже печи для бани необходимо указать место, где дымоход будет проходить через крышу. Это место необходимо тщательно изолировать, так как воздух, проходящий через трубу очень горячий.

Дымоход для бани
Для изоляции дымохода от крыши лучше приобрести готовые решения, которые продаются в специализированных магазинах для бани.
Таким образом сделать печь для бани по чертежам самому не так уж и сложно. К тому же в магазинах продается много готовых решений (решетки, дверцы, баки, трубы, дымоходы, изоляция дымохода), применяя которые соорудить печь будет еще проще.
Чертежи печи для бани из металла горыныч. Горыныч-3
Банная печь предназначена только для бань, у которых парная и моечное отделение разделены перегородкой.
Один из наиболее важных моментов, при такой планировке, это обогрев моечного отделения. Данная модель печи позволяет прогревать всю баню без установки дополнительного котла и радиаторов отопления, как весной и осенью, так и в зимний период. Печь топиться из предбанника (комнаты отдыха), мойка и парная разделены стеной.
Особенностью этой печи является то, что перегородка между мойкой и парной проходит по поверхности печи, разделяя ее тем самым на две части.Лидер,не имеющий аналогов, по обогреву бань с отдельным моечным отделением.
Преимущества печи- Бак для воды и часть топки располагаются в моечном отделении, обогревая его
- Компактное расположение печи, что бывает очень важно при делении на парную и моечное отделение. В парной каменка расположена вдоль стенки и выступает 45*70 см (при установленной другой печи в парной минимальное пространство занимаемое печью 80*60 см с учетом воздушных зазоров). В моечной бак для воды расположен на стене и занимает 30*70 см
- Топка печи из комнаты отдыха, обогревает это помещение. Значительно удобнее по сравнению с вариантом топки из моечной.
- Планировка бани должна быть следующая.Схема бани Горыныч-3Л

Печь отлично прогревает помещения, как зимой, так и летом:Парную и камни – за счет трубы, с отходящими догорающими газами, расположенной в каменке. Моечное отделение и полы - за счет нагрева бака и выступающей нижней части топки под баком. Полы прогреваются за счет излучения топки (нельзя закладывать кирпичом под баком в моечном отделении).Комнату отдыха – печь топиться из комнаты отдыха и прогревает ее за счет передней металлической части. Значительно удобнее по сравнению с вариантом топки из моечной. Для полноценного обогрева комнаты отдыха желательно поставить систему воздушного отопления на печь (воздух из комнаты отдыха принудительно направляется в систему воздушных каналов печи, нагревается от стенок разогретой топки печи и возвращается в комнату отдыха). Комната отдыха зимой прогревается очень быстро 30-40 минут. Компактное расположение печи, что бывает очень важно при делении на парную и моечное отделение. В парной каменка расположена вдоль стенки и выступает 45*70 см (при расположении печи в парной минимальное пространство занимаемое печью 80*60 см ). В моечной бак для воды расположен на стене и занимает 30*70 смЧертеж печи и схема установки Горыныч-3 бак правый.
ФОТО МОНТАЖ
В печи использован бесколосниковый принцип продольного горенияСрок службы печи более 15 лет!!!
| Габаритные размеры печи без бака (Д*Ш*В) | 950*775*900мм Минимальная ширина двери в бане, что бы занести печь 670 мм. !!! |
| Вес | 190 кг |
| Объем парной | от 8 до 18 куб. |
Чертежи печи для бани из металла своими. Разновидности банных печей из металла
Особенности конструкции: 3 типа банных печей
Если изучить многочисленные чертежи банных печей из металла, можно прийти к выводу, что с конструктивной точки зрения выделяют несколько разновидностей банных печей:
- Банные печи с закрытой конструкцией, благодаря компактности которых их предпочитают устанавливать в небольших банях семейного типа. Для повышения теплоемкости данные конструкция снаружи и внутри застраивают красным огнеупорным кирпичом. Фиксация кирпичей осуществляется с помощью металлических скреп. В средней части печи устанавливается решетка для камней;
- Банные печи с открытой конструкцией характеризуются наличием бака меньшего объема, тогда как их каменка открытая. В связи с этим, установив в парилке печь открытого типа, вы обеспечите более быстрый прогрев помещения. Чтобы увеличить теплоемкость такой печи, камни накрывают оцинкованной крышкой;
- Комбинированные банные печи, в конструкции которых выделяют топливник, оснащенный двумя задвижками, решеткой и поддувалом, два патрубка (диаметром 10 и 14 см), в которых выделяют четыре отверстия для трубы и обводного колена. Изготовление таких печей осуществляется из листов стали толщиной 3-5 мм;

Вид топлива: 3 типа банных печей
В соответствии с используемым видом топлива также различают несколько видов банных печей:
- Дровяные печи – наиболее ранняя разновидность банных металлических печей с соответствующими характеристиками. Они требуют большое количество топлива и, вместе с этим, нуждаются в постоянном и тщательном уходе. Однако, существуют и ценители таких печей, которые предпочитают не торопясь подождать, пока они нагреются, зато потом сполна насладиться ароматным теплом настоящего огня;
- Электрические печи – еще одна разновидность банных печей из металла. Они состоят из металлического корпуса, оснащенного нагревательным ТЭНом и теплоизоляционными элементами;
- Газовые металлические печи для бани – наиболее надежные и современные печные агрегаты. Они представляют собой железные конструкции, оснащенные термостатом, предназначенным для регулирования мощности. За безопасность конструкции также можно не волноваться, так как она подразумевает наличие предохранительного устройство, мгновенно срабатывающего в случае затухания газа.

Чертежи печи для бани из металла с колодцами. Процесс изготовления
Для начала необходимо сказать о том, что существует целый ряд подобных изделий, которые отличаются своей конструкцией и принципом работы. Поэтому чертежи печей для бань из металла бывают разными. Однако все они обладают приблизительно одинаковым принципом действия (см.также статью «Печь для бани из трубы: советы по изготовлению»).

Простейший чертеж банной печи
Топка
- Прежде всего, необходимо изготовить топку. Ее размеры каждый определяет сам, но профессионалы советуют при ширине 0.5 метра делать такую же высоту.
- Многие чертежи самодельной печи для бани из металла предполагают использование некоторых готовых элементов. К ним относятся решетки и дверцы. При этом мастера советуют выбирать эти детали, изготовленные именно из металла, поскольку чугунные изделия придется фиксировать особенным образом.
Проект изготовления металлической конструкции с детальным указанием необходимых элементов и их размеров
- Типовой чертеж печи для бани из металла предполагает, что топка будет состоять из двух секций. В первой из них происходит сжигание топлива, а вторая нужна для сбора золы. Учитывая это, их разделяют решеткой и делают отдельные дверцы.
- Стоит отметить, что окно секций для сбора золы часто используют для создания тяги, которая необходима для горения.
- Если чертеж банной печи из металла предполагает размещение каменки, то верхнюю часть топки также изготавливают из решетки
Совет! Для изготовления печи стоит использовать толстый металл. Так конструкцию не поведет при нагреве, и она сможет выделять больше тепла.
